| Components |
| [LH] |

|
1. BJ assembly 2. BJ circlip 3. BJ boot band 4. BJ boot |
5. Shaft 6. TJ boot band 7. TJ boot 8. Spider assembly |
9. Retainer ring 10. TJ housing 11. Housing circlip |
| [RH] |

| 1. BJ assembly 2. BJ circlip 3. BJ boot band 4. BJ boot |
5. Shaft 6. TJ boot band 7. TJ boot 8. Spider assembly |
9. Clip 10. TJ Case 11. Clip 12. Housing circlip |
| Removal |
|
| 1. |
Remove the Front Driveshaft.
(Refer to Driveshaft Assembly - "Front Driveshaft")
|
| 2. |
Remove the housing circlip (B) from the driveshaft spline (A).
|
| 3. |
Remove both boot bands from the TJ housing.
|
| 4. |
Remove the TJ housing (A).
|
| 5. |
Remove the retainer ring (A) from the shaft.
|
| 6. |
Remove the spider assembly (B) from the driveshaft (A) using the special
tool (09495-33000).
|
| 7. |
Clean the spider assembly.
|
| 8. |
Remove the TJ boot (A).
|
| Inspection |
| 1. |
Check the spider assembly for roller rotation, wear or corrosion.
|
| 2. |
Check the groove inside the joint case for wear or corrosion
|
| 3. |
Check the TJ boots for damage and deterioration.
|
| Installation |
| 1. |
Wrap tape around the driveshaft spline (TJ) to prevent damage to the
boot.
|
| 2. |
Install the TJ boot band and then TJ boot.
|
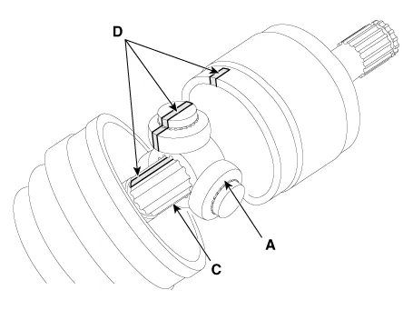
| 3. |
Using the alignment marks (D) made during disassembly as a guide, install
the spider assembly (A) and snap ring (B) on the driveshaft splines
(C).
|
| 4. |
Add specified grease to the joint boot as much as it was wiped away
at inspection.
|
| 5. |
Install the both boot band.
|
| 6. |
To control the air in the TJ boot, keep the specified distance between
the boot bands when they are tightened.
|
|||||||||||
| 7. |
Using the SST(09495-3K000), secure the TJ boot bands.
|
| 8. |
Install the front driveshaft.
(Refer to Driveshaft Assembly - “Front Driveshaft”)
|
| 9. |
Check the front alignment.
(Refer to Suspension System - "Front Alignment")
|
Components and components location Components 1. Front driveshaft (LH) 2. Inner shaft bearing bracket 3. Front driveshaft (RH)
Components and components location Components [LH] 1. BJ assembly 2. BJ circlip 3. BJ boot band 4.
Description and operation Description The auto defogging sensor is installed on the front window glass. The sensor judges and sends signal if moisture occurs to blow out wind for defogging. The air conditioner control module receives a signal from the sensor and restrains moisture and eliminates defog by the intake actuato