| Specification |
|
Item |
Specification |
|
|
Rated voltage |
12 V, 1.7 kW |
|
|
The number of pinion teeth |
11 |
|
|
Performance [No-load, 11.5 V] |
Ampere |
Max.105 A |
|
Speed |
Min. 2,800 rpm |
|
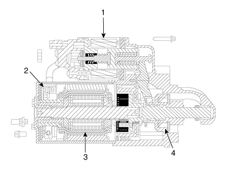
| Description |

| 1. Solenoid 2. Brush assembly 3. Armature 4. Overrun clutch |
| Circuit Diagram |

Troubleshooting • The battery must be in good condition and fully charged for this troubleshooting.
Repair procedures Inspection 1. Turn ignition switch OFF and disconnect the negative (-) battery terminal. 2.
Repair procedures Oil Specification 1. The R-134a or R-1234yf system requires synthetic (PAG) compressor oil whereas the R-12 system requires mineral compressor oil. The two oils must never be mixed. 2.
Description and operation Description The mode control actuator is located at the heater unit. It adjusts the position of the mode door by operating the mode control actuator based on the signal of the A/C control unit. Pressing the mode select switch makes the mode control actuator shift in order of Vent → Bi-Level →