| Components |

| 1. Seat cushion heater 2. Seat heater unit (Passenger only) |
3. Seat back heater |

| 1. Seat heater unit (Passenger
only) 2. Seat cushion heater |
3. Seat back heater |
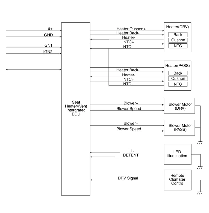
| Circuit Diagram |



|
No |
Connector A |
Connector B |
Connector C |
|
1 |
- |
- |
Driver cushion heater |
|
2 |
- |
- |
Driver back heater |
|
3 |
- |
- |
Assist cushion heater |
|
4 |
DETENT |
- |
Assist back heater |
|
5 |
Illumination |
- |
Driver blower |
|
6 |
Driver vent control PWM |
LIN |
Assist blower |
|
7 |
Assist heater power |
- |
Battery (+) |
|
8 |
Driver heater power |
- |
Driver heater (-) |
|
9 |
- |
- |
Ground |
|
10 |
- |
IGN 1 |
Assist heater (-) |
|
11 |
- |
- |
|
|
12 |
- |
- |
|
|
13 |
|
- |
|
|
14 |
- |
||
|
15 |
- |
||
|
16 |
- |
||
|
17 |
NTC (-) |
||
|
18 |
Assist NTC (+) |
||
|
19 |
Driver NTC (+) |
||
|
20 |
IGN 2 |

|
No |
Connector A |
Connector B |
|
1 |
Heater (-) |
Heater vent unit IGN 2 |
|
2 |
Cushion heater power |
Heater vent unit IGN 1 |
|
3 |
Seat back heater power |
- |
|
4 |
Cushion blower power |
- |
|
5 |
Seat back blower power |
- |
|
6 |
Heater vent power |
Cushion blower VSP |
|
7 |
Heater (-) |
Seat back blower VSP |
|
8 |
Heater vent ground |
- |
|
9 |
Heater vent ground |
- |
|
10 |
- |
- |
|
11 |
- |
- |
|
12 |
Heater vent Power |
LIN |
|
13 |
|
- |
|
14 |
- |
|
|
15 |
- |
|
|
16 |
- |
|
|
17 |
- |
|
|
18 |
- |
|
|
19 |
- |
|
|
20 |
- |
|
|
21 |
- |
|
|
22 |
NTC (+) |
|
|
23 |
- |
|
|
24 |
NTC (-) |
| Inspection |
| 1. |
Check for continuity and measure the resistance between terminals.
|
| 2. |
Operate the seat heater after connecting the connector, and then check
the thermostat by measuring the temperature of seat surface.
|
| 1. |
Check for continuity and measure the resistance between terminals.
|
Components and components location Components Driver/Passenger Seat Heater 1. Seat cushion heater 2. Seat heater unit (Passenger only) 3.
Components and components location Components (1) Front seat 1. Air ventilation seat blower 2. Air ventilation seat control unit (Passenger only) 3.
Description and operation Description The In-car air temperature sensor is built in the heater & A/C control unit. The sensor consists of a thermistor that measures the inside temperature. The signal decided by the resistance value that changes in accordance with perceived inside temperature, is delivered to heater co
Components and components location Components 1. Remote control switch (Audio swtich) 2. Remote control switch (Cruise control switch) Schematic diagrams Circuit Diagram Trip + SCC Repair procedures Removal 1.