Hyundai Palisade (LX2): ESP(Electronic Stability Program) System / Description and operation
ESP recognizes critical driving conditions, such as panic reactions in dangerous
situations, and stabilizes the vehicle by wheel-individual braking and engine
control intervention.
ESP adds a further function known as Active Yaw Control (AYC) to the ABS, TCS,
EBD and ESP functions. Whereas the ABS/TCS function controls wheel slip during
braking and acceleration and, thus, mainly intervenes in the longitudinal dynamics
of the vehicle, active yaw control stabilizes the vehicle about its vertical
axis.
This is achieved by wheel individual brake intervention and adaptation of the
momentary engine torque with no need for any action to be taken by the driver.
ESP essentially consists of three assemblies : the sensors, the electronic control
unit and the actuators.
The stability control feature works under all driving and operating conditions.
Under certain driving conditions, the ABS/TCS function can be activated simultaneously
with the ESP function in response to a command by the driver.
In the event of a failure of the stability control function, the basic safety
function, ABS, is still maintained.

Description of ESP Control
ESP system includes ABS/EBD, TCS and AYC function.
ABS/EBD function : The ECU changes the active sensor signal (current shift)
coming from the four wheel sensors to the square wave. By using the input of
above signals, the ECU calculates the vehicle speed and the acceleration & deceleration
of the four wheels. And, the ECU judges whether the ABS/EBD should be actuated
or not.
TCS function prevents the wheel slip of drive direction by adding the brake
pressure and engine torque reduction via CAN communication. TCS function uses
the wheel speed sensor signal to determine the wheel slip as far as ABS function.
AYC function prevents unstable maneuver of the vehicle. To determine the vehicle
maneuver, AYC function uses the maneuver sensor signals(Yaw Rate Sensor, Lateral
Acceleration Sensor, Steering Wheel Angle Sensor).
If vehicle maneuver is unstable (Over Steer or Under Steer), AYC function applies
the brake pressure on certain wheel, and send engine torque reduction signal
by CAN.
After the key-on, the ECU continually diagnoses the system failure. (self-diagnosis)If
the system failure is detected, the ECU informs driver of the system failure
through the BRAKE/ABS/ESP warning lamp. (fail-safe warning)

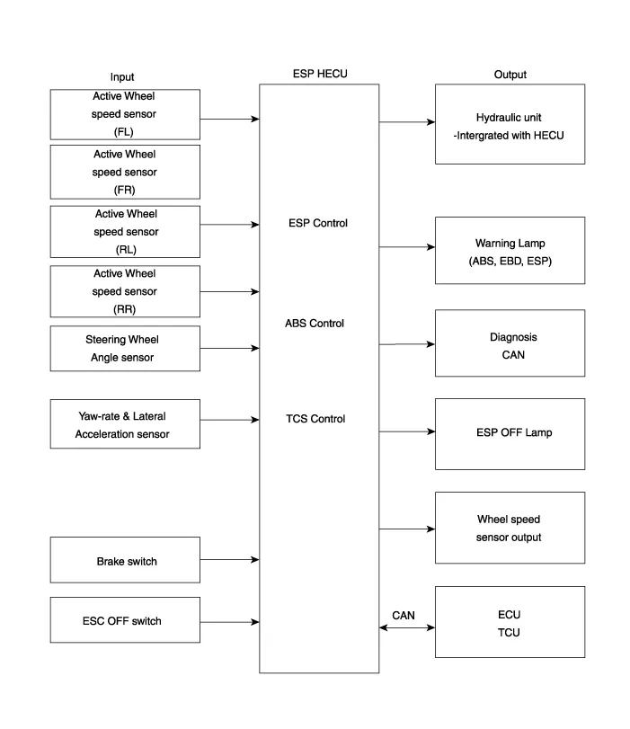
Input and Output Diagram

| 1. |
STEP 1
The ESP analyzes the intention of the driver.

|
| 2. |
STEP 2
It analyzes the movement of the ESP vehicle.

|
| 3. |
STEP 3
The HECU calculates the required strategy, then actuates the appropriate
valves and sents torque control requests via CAN to maintain vehicle
stability.

|
| ESP Hydraulic System Diagram |
| 1. |
ESP Non-operation : Normal braking.
Solenoid Valve
|
Continuity
|
Valve
|
Motor Pump
|
TC Valve
|
IN (NO)
|
OFF
|
OPEN
|
OFF
|
OFF
|
OUT (NC)
|
OFF
|
CLOSE
|
|
| 2. |
ESP operation
Solenoid Valve
|
Continuity
|
Valve
|
Motor Pump
|
TC Valve
|
Understeering
(Only inside of rear wheel)
|
IN (NO)
|
OFF
|
OPEN
|
ON
|
ON
|
OUT (NC)
|
OFF
|
CLOSE
|
Oversteering
(Only outside of front wheel)
|
IN (NO)
|
OFF
|
OPEN
|
OUT (NC)
|
OFF
|
CLOSE
|
Warning Lamp Control

|
ABS Warning Lamp module
The active ABS warning lamp module indicates the self-test and failure status
of the ABS. The ABS warning lamp shall be on :
| – |
During the initialization phase after IGN ON. (continuously 3 seconds).
|
| – |
In the event of inhibition of ABS functions by failure.
|
| – |
During diagnostic mode.
|
| – |
When the ECU Connector is seperated from ECU.
|
| – |
Cluster lamp is ON when communication is impossible with CAN module.
|
EBD/Parking Brake Warning Lamp Module
The active EBD warning lamp module indicates the self-test and failure status
of the EBD. However, in case the Parking Brake Switch is turned on, the EBD
warning lamp is always turned on regardless of EBD functions. The EBD warning
lamp shallbe on :
| – |
During the initialization phase after IGN ON. (continuously 3 seconds).
|
| – |
When the Parking Brake Switch is ON or brake fluid level is low.
|
| – |
When the EBD function is out of order .
|
| – |
During diagnostic mode.
|
| – |
When the ECU Connector is seperated from ECU.
|
| – |
Cluster lamp is ON when communication is impossible with CAN module.
|
ESP Function / Warning Lamp (ESP System)
The ESP function/warning lamp indicates the self-test and failure status of
the ESP.
The ESP function/warning lamp is turned on under the following conditions :
| – |
During the initialization phase after IGN ON. (continuously 3 seconds).
|
| – |
When the ESP function is inhibited by system failure.
|
| – |
When the ESP control is operating. (Blinking - 2Hz)
|
| – |
During diagnostic mode.(Except standard mode)
|
| – |
Cluster lamp is ON when communication is impossible with CAN module.
|
ESP OFF Lamp (ESP System)
The ESP Off lamp indicates the self-test and operating status of the ESP.
The ESP Off lamp operates under the following conditions :
| – |
During the initialization mode after IGN ON. (continuously 3 seconds).
|
| – |
ESP Off lamp is On when driver input the ESP Off switch.
|
ESP ON / OFF Switch (ESP System)
The ESP On/Off Switch shall be used to toggle the ESP function between On/Off
states based upon driver input.
The On/Off switch shall be a normally open, momentary contact switch.Closed
contacts switch the circuit to ignition.
Initial status of the ESP function is on and switch toggle the state.
Components
1. ABS control module (HECU)
2. Front wheel speed sensor
3. Rear wheel speed sensor
4. ABS warning lamp
5.
Circuit Diagram
Terminal Function
PIN No
Desciption
Current
Max
Min
1
Voltage supply for pump motor
39A
10 MΩ
2
RR EPB motor power
30A
10 MΩ
3
RR EPB motor ground
30A
10 MΩ
4
Clutch stroke sensor signal
-
-
5
Local CAN High
30 mA
-
6
Electric parking brake signal 1
20 mA
250 MΩ
7
Electric parking brake signal 2
20 mA
250 MΩ
8
Electric parking brake signal 3
20 mA
250 MΩ
9
Electric parking brake signal 4
20 mA
250 MΩ
10
-
-
250 MΩ
11
-
-
-
12
RL EPB motor ground
30A
-
13
RL EPB motor power
30A
10 MΩ
14
Ground for solenoid valves and ECU
30A
10 MΩ
15
-
-
10 MΩ
16
-
-
250 MΩ
17
ESP OFF switch signal
16.
Other information:
Description and Operation
Wireless Power Charger System
During ACC or IG ON, battery voltage is supplied to the wireless power charger
system to transmit an output of 5 W to mobile phone.
Mobile phones certified with the wireless charging standard WPC (Qi 1.
Description and operation
Description
The auto defogging sensor is installed on the front window glass. The sensor
judges and sends signal if moisture occurs to blow out wind for defogging. The
air conditioner control module receives signal from the sensor and restrains
moisture and eliminate defog by controlling the intak