Hyundai Palisade (LX2): Engine Mechanical System / Special service tools

Special Service Tools
Tool (Number and name)
Illustration
Use
Crankshaft front oil seal installer
(09231-3C100)

Hyundai Palisade. Special service tools

Installation of the front oil seal
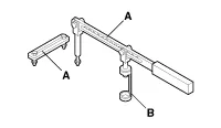
Ring gear stopper
A : 09231-3N100
B : 09231-2B100

Hyundai Palisade. Special service tools

Removal and installation of crankshaft pulley bolt
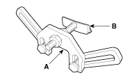
Ring gear stopper
A : 09231-3D100
B : 09231-2W100

Hyundai Palisade. Special service tools

Removal and installation of crankshaft pulley bolt.
Torque angle adapter
(09221-4A000)

Hyundai Palisade. Special service tools

Installation of bolts & nuts needing an angular method
Valve stem seal remover
(09222-29000)

Hyundai Palisade. Special service tools

Removal of the valve stem seal
Valve stem seal installer
(09222-3C100)

Hyundai Palisade. Special service tools

Installation of the valve stem seal
Valve spring compressor & holder
A : 09222-3K000
B : 09222-3K100

Hyundai Palisade. Special service tools

Removal and installation of the intake or exhaust valves
Crankshaft rear oil seal installer
A : 09231-3C200
B : 09231-H1100

Hyundai Palisade. Special service tools

Installation of the crankshaft rear oil seal
Oil pan remover
(09215-3C000)

Hyundai Palisade. Special service tools

Removal of oil pan

    Troubleshooting Symptom Suspect area Remedy Engine misfire with abnormal internal lower engine noises.

    Other information:

    Hyundai Palisade (LX2) 2020-2025 Service Manual: Wireless Power Charging Unit

    Components and positions Components Circuit diagram Circuit Diagram Repair procedures Removal    Handling wireless charging system parts by wet hands may cause electric shock.

    Hyundai Palisade (LX2) 2020-2025 Service Manual: Ambient Temperature Sensor

    Description and operation Description The ambient temperature sensor is located at the front of the condenser and detects ambient air temperature. It is a negative type thermistor; resistance will increase with lower temperature, and decrease with higher temperature.

    Categories

     
    Copyright © 2025 www.hpalisadelx.com - 0.0122